15张图:快速了解螺杆压缩机原理,结构以及分类

相关图片

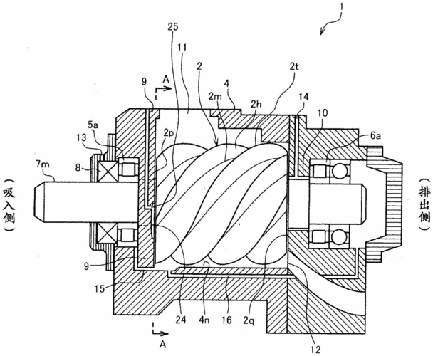
螺杆压缩机

螺杆式压缩机制造技术,螺杆式压缩机结构图专利_技高网

螺杆空压机工作原理图及详细原理解析

博莱特螺杆空压机排气温度过高的原因

安徽螺杆空压机sck-75sa施耐德品牌【10立方空压机】

随机推荐

大猫漫画第3期:偶像天团青岛演唱会!了解一下?

华晨宇帅气西装光影写真大片,图片大全,高清,图库-回车桌面

谁有佐助好看的永恒望花筒血轮眼的图片 给几张

"袁记云饺们"掀起现包水饺大战,谁是下一个思念?

半妖倾城东哥是谁扮演的?东哥扮演者吴佳怡个人资料,写真及生活照欣赏

《铠甲勇士》炎龙铠甲

燕京啤酒特制 500毫升6罐装匠心酿造香甜麦芽绵密泡沫-dtm

外国硬币10枚不同国家第1组