网评「选角最贴合小说」甜宠陆剧top 3:钟汉良&唐嫣《何以笙箫默》

相关图片

何以笙箫默 七年前是赵默笙主动,七年后是何以琛主动!唐嫣 钟汉良

何以笙箫默 钟汉良 唐嫣

这一次,唐嫣的"假面"被刀郎彻底撕开|罗晋|邱泽|钟汉良|高云翔|填词人

看到接机的人,默笙都笑翻了#何以笙箫默# #唐嫣# #钟汉良# 默笙以琛

钟汉良和唐嫣在综艺合体,一出场就梦回《何以笙箫默》

随机推荐

林志玲金马奖被骂惨!脸型五官大变样,疑讨好日本导演遭网友炮轰

狼尾假发男长发日系男生武士头中分鲻鱼头短发男士日常全头套式

垂直的白色空空白画布或市混凝土墙板样机

手腕

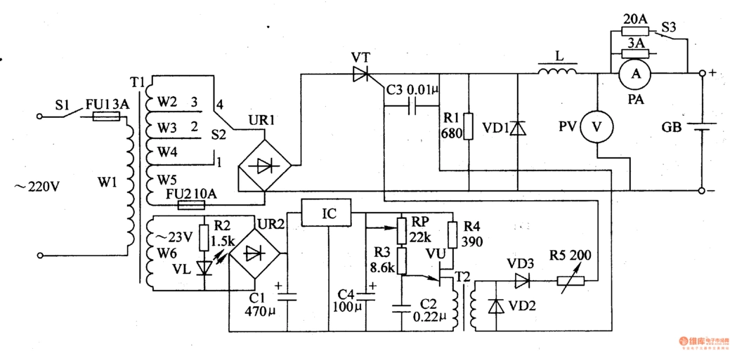
机动车蓄电池充电器 四

新疆的草原绿了

第127届波士顿马拉松将于今天北京时间9:30开赛.

华为(huawei)华为千兆路由器 ax3pro 白色 wi-fi 6 harmonyos一碰