鞠婧祎扫楼生图太绝了,腰围只有一个巴掌大,精致得像人偶娃娃

相关图片

鞠婧祎"美貌营业"了!

鞠婧祎拍时尚大片,运动装显身高,我却被她的腿吸引了_形象_因为_照片

别再说鞠婧祎身高只有159!看到她穿白色长袜照片,全网都沸腾了!

159cm鞠婧祎衬衫搭配半身裙轻松显高10cm

鞠婧祎穿红衬衫配黑高腰短裤,凹出了大长腿,真的只有159?

随机推荐

恩爱情侣亲亲抱抱头像高清一对两张的小清新秀恩爱情侣头像图片

男生干净清爽短发凌乱抓刺干净清爽短发,凌乱前刺盛盛都可以尝试 - 抖

霍震霆和儿子霍启刚都是爱国企业家,郭晶晶又是国家级别的运动员,一家

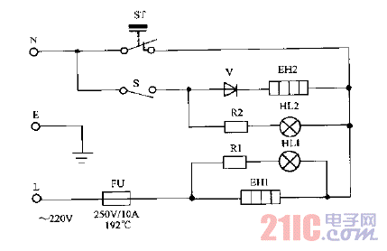
三角drg130节能调温多用电热锅电路图

【以申相煦/郝富申&胡先煦】不再联系 | 我们终究不是俞亮时光_哔哩

路人街拍, 清新脱俗的小姐姐穿搭魅力十足!|小姐姐|毛球|白色_新浪网

油炸蝎子中国街头食品在北京王府井大街烤蝎子作为小吃街食品在中国

超好看的兄妹动漫头像_微信头像图片大全