她貌美却演丑女走红,被大23岁男友抛弃后险些当了尼姑,今婚姻幸福!

相关图片

徐梵溪与徐佳宁分手7年后,他花5亿再娶李小冉,她独自承受伤害_赵宝刚

此时李小冉和鄢颇在谈恋爱,徐佳宁不敢表白,也不能插足,知道他怕失败

在拍摄电视剧的过程中,她与来自东北的制片人徐佳宁偶然相遇.

而她的现任丈夫徐佳宁也是圈中的制片人,两人在事业上都互相有帮助

徐梵溪与徐佳宁分手7年后,他花5亿再娶李小冉,她独自承受伤害_赵宝刚

随机推荐

只是相比年轻时候的他来说,现在的刘德华,在帅气之外,又多了一些可爱.

样tfboys文化卡通王俊凯简笔画可爱tfboys彩铅简笔画tfboys简笔画图片

知性时尚真耐看——露耳波波头,短发新风尚

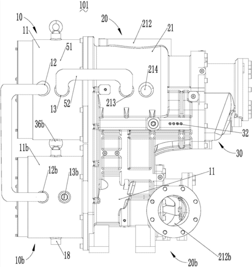
cn206582112u_双永磁双级螺杆压缩机失效

男士穿牛仔裤怎么搭配西装好看鞋子该怎么选

国内 > 正文 杨澜在《杨澜访谈录》十五周年现场(图源:vcg) 进入

精选品质加厚活页本替芯202630孔b5活页纸a4活页纸a5康奈尔英语横线内

小提琴