开式可倾冲床 主要用于冲压生产 促销中

相关图片

=300mm,l =150mm.以1/4的比例尺画出机构运动简图.

p1 ph (2 1) 所以该简易机床设计方案的机构不

ppt 34页

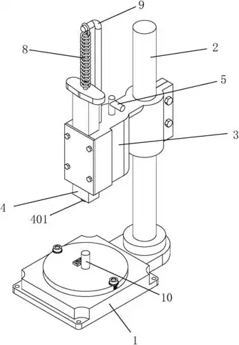
cn206326886u_一种手动冲床有效

cn101497097b_高速精密冲床失效

随机推荐

吴磊wl三石天然美学

惊艳亮相2023巡回演唱会-大连站开场,全能艺人@张艺兴沉稳中透露出

【背影专辑】待我长发及腰 女神发型 背影杀手 挑染 波浪卷 水波纹

孙红雷凭借努力考入中戏曾经被人民日报夸奖为爱国演员

日系编发教程春夏少女发型教程手残党

迪丽热巴新杂志封面曝光,狼尾短发造型遭嘲讽,网友称拍得像男人

卡布叻_周深

加载中…