开端火了一批高压锅恐惧症患者出现了

相关图片

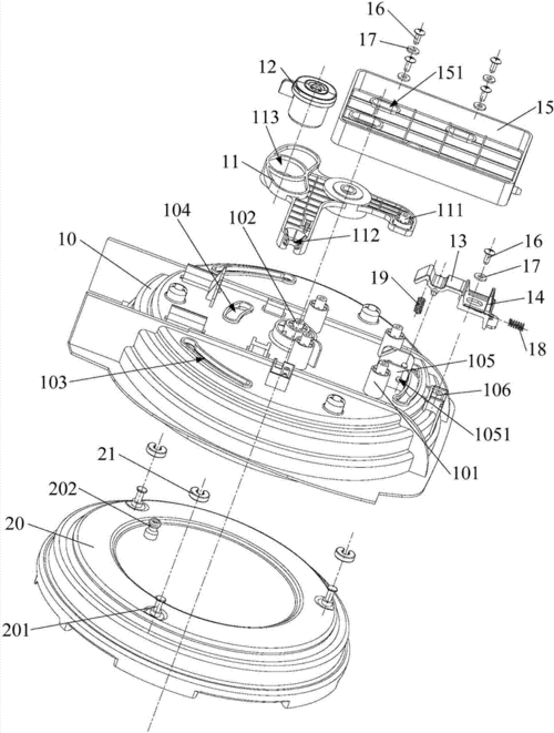
本实用新型涉及压力控制技术领域,尤其涉及了一种高压锅锅盖.

热销不锈钢防爆高压锅 燃气电磁通用压力锅 加厚复合底

一种炊具的锅盖结构,包括设有连接臂(2)的锅盖(1)本体,其特征在于:所

一种压力锅盖开合结构制造技术,电压力锅锅盖结构图专利_技高网

摘要附图摘要本实用新型是一种方便锅盖拆装的电压力锅,包括锅盖组件

随机推荐

中流击水开播##电视剧中流击水##丁柳元

吸到昏迷!小老虎就是最可爱的!

各路流量小生争奇斗艳看到蔡徐坤女装后网友爱情的感觉

回顾张译没有说错赵今麦和张子枫已走上两条截然不同的大路

郁可唯不仅把自己的妆容和头发造型处理得很完美,她的穿搭造型更是

游戏特效技术论坛 - powered by discuz!

pe热收缩膜机器介绍

头像图片那年那兔 头像图片大全 -【爱个性】