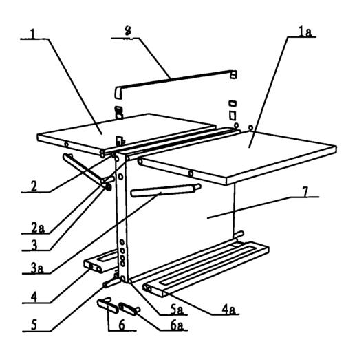
一种交叉折叠可调整多用途学习桌制造技术

相关图片

林肯现代玻璃电脑桌安装说明书

雷动多功能变形壁挂式折叠桌墙上抖音同款网红餐桌书架阳台置物架花架

逸家伴侣圆桌面可折叠家用简易多功能实木小圆桌折叠餐桌圆形折叠方圆

户外折叠桌交叉蛋卷桌子家用庭院烧烤桌野餐便携式露营桌椅子全套

一种可组装多功能折叠桌的制作方法

随机推荐

吴磊出发延安拍戏#吴磊时尚休闲装现身机场,北京的行程一结束又腋赶

范丞丞金色挑染##范丞丞官宣澳门国际喜剧节

class="ref" data-ctrid="tyub7rigdgbd">窈娘,女,2021年古装悬疑剧

萌娃 可爱 小孩 头像

杨颖头像

突然好想你

8款男生"最帅气"学生党发型,开学了剪一个,帅气翻倍

浅蓝灰色舒适圆领长袖针织衫