暗黑地牢2抢先测试体验重走受苦之路

相关图片

暗黑地牢速度暴击流职业搭配玩法心得攻略

暗黑地牢2抢先评测人类在希望的绝路上狂奔

《暗黑地牢2》首个dlc将于12月推出 新增两位英雄_18183下载站18183.

《暗黑地牢darkest dungeon》游戏壁纸图片

我疯起来连队友都砍暗黑地牢就是这么秀

随机推荐

杨幂"封神"穿搭来袭!身着一袭蝴蝶开叉裙,复古优雅,气质绝美

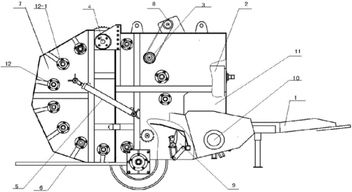
包装设备有限公司专利 >正文 本技术为解决现有技术中的打捆机捡拾

花样彩色水饺

200张【鬼刀】4k/8k 手机,电脑壁纸 - 知乎

赵丽颖 #赵丽颖幸福到万家 白色婚纱or红色喜服,哪个更好看呢

中国风水墨飞墨素材背景模板

张也55岁未婚无儿无女与62岁的吕继宏相伴多年每天过的很幸福

476_267gif 动态图 动图