自动脱钩夹具,在3d动画的演示下我明白了它的工作原理,内部设计真不错

相关图片

矿用防坠器脱钩器,翻爪翻转翻钩式自动脱钩器,高空作业防坠器脱钩器

15269631200 自动脱钩器 强夯自动脱钩器 脱钩器生产厂家

杭州工程机械配件品牌大全

矿用防坠脱钩器矿用拉绳脱钩器自动脱钩装置的原理图和结构图

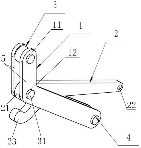
cn113060640a_一种起重机用自动脱钩装置在审

随机推荐

花儿与少年2许晴新清甜美写真电脑桌面壁纸下载

动漫场景插画壁纸

海南大学本科海南地区录取分数线,2021年汇总

他们居然是父子?这6对明星绝对让你意想不到!父亲姓牛

商品名称:枣仁安神胶囊(颗粒)

小晞向你发射了一个比心(编辑中…)@曾舜晞joseph#曾舜晞紫刘辉#zsx

绿盈乡村 | 山海融合 释放生态红利——漳州市诏安县四都镇西梧村

理发