男士辫子发型图片 告诉你如何扎辫子

相关图片

男士长脸留长头帘梳小辫什么样 扎小辫虽帅无刘海才是王道_发型师姐

男生小辫子发型后脑勺引人注意显帅气俏皮魅力

男生编辫子发型图片 酷炫风编发造型帅翻天 - 男士长发 - 发型站

男生头顶扎辫子发型 男生辫子发型要怎么留

男士小小三股辫

随机推荐

亲爱的热爱的:grunt经验丰富,吴白蠢蠢欲动的手 网友:偷偷看真是没谁

转发拿走这张平安符手机壁纸,愿你长安宁,多喜乐!

这几款流行的女生短发发型你喜欢哪一款

送别(李叔同)简谱

头像 #最简单的幸福就是陪伴 #原创手绘头像#一家四口 #姐弟 #兄妹

2024内娱洗牌:肖战王一博退位?成毅成新晋顶流?

杨蕾|主持人杨蕾发文暗指自己优秀,不做主持人照样能养活自己

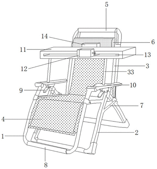
一种便于休息的钓鱼躺椅的制作方法