自动脱钩器|永光机械|强夯自动脱钩器

相关图片

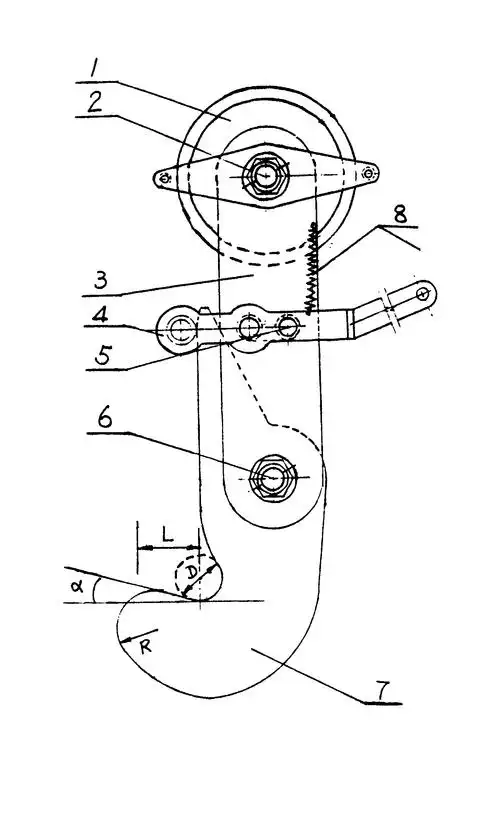
一种起重机的自动脱钩装置

矿用防坠器脱钩器,翻爪翻转翻钩式自动脱钩器,高空作业防坠器脱钩器

产品中心 工具挂钩/架 > 快速脱钩(4)

一种脱钩装置的制作方法

自动脱钩器

随机推荐

扣扣头像女生霸气超拽图片高冷女生个性头像图片大全

笑容开心女头氛围高清治愈系可爱女头-女生头像 - 壁纸之家

车辆仪表盘水温不显示(车水温表不显示水温怎么回事)-海龙汽车网

交流接触器怎样接线a1a2接相线还是一相线一零线

台州婚纱|毛晓彤同款旗袍6015温婉江南美人95

八成都是168cm,说自己180cm,八成都是178cm,而这些身高差距在银幕上就

a-034-北京模特公司_北京模特经纪公司 萧萧麻豆传媒 首页

张兰被曝欠9个亿,到底是真是假