隐形床的制作方法

相关图片

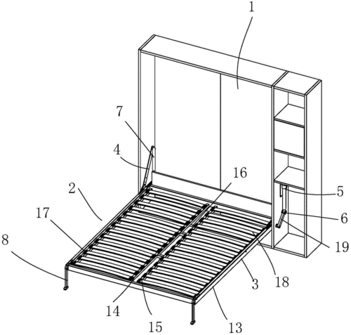
一种立式折叠床的制作方法

折叠护理床的制作方法

背景技术:折叠床是一种利用关节原理设计的简易床,由于折叠床使用方便

一种折叠床中脚的改进结构

背景技术:折叠床是一种利用关节原理设计,为方便和节省体积空间,通过

随机推荐

王俊凯头像

赵露思米兰时装周让人过目不忘

周杰伦海报周杰伦专辑封面周边照片明信片装饰卡片ins海报墙贴q光面5

2022秋装女装新款修身短款牛仔褂外套女宽松妈妈春秋上衣服ins潮

拜托了冰箱第五季完结最后一期收视破纪录杨紫王嘉尔结缘

日式街道场景(附过程)|插画|游戏原画|regulus1126 - 原创作品 - 站酷

《歌手》开播收视率爆了!却因过度煽情遭吐槽,还被质疑假直播_腾讯新

丛林中的野生梅花鹿图片 - 第8张