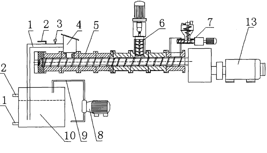
单螺杆挤出机的结构 塑料工艺

相关图片

单螺杆挤出机结构及主要零部件

挤出机螺杆图纸展示.docx 7页

金鑫讲解:塑胶挤出机螺杆,挤出螺杆料管,挤出机专用螺杆机筒

0059双螺杆挤出机设计全套cad图毕业论文开题报告

注塑螺杆结构示意图

随机推荐

和吴磊一起户外喝咖啡是种什么体验

动漫头像动漫男头魔道祖师蓝忘机上推荐第二期赞评论更多

壁纸,3d,建筑设计效果图,1920x1200尺寸壁纸-回车桌面

这次在泰国《跑男》的造型照片中,杨颖展现了她迷人的身材曲线.

时机已到,桃花入命,月老独宠,将与前任不期而遇的星座,必有你

满背艺妓身上纹,一生只爱一个人#满背纹身 #艺妓纹身 #东莞 - 抖音

谁明浪子心她的背影

冰菓同人图