什么是省柴灶?使用省柴灶有哪些好处?

相关图片

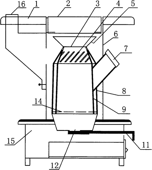
生物质颗粒燃料经燃料炉加料口加到炉膛内的炉篦上,通过一次风道点燃

户外用品 亚马逊热卖便携式不锈钢折叠柴火炉 野外野餐露营柴火灶

2,通风道的设计通风道是指炉篦以下的空间.

在壁炉炉膛温度超过280℃后,木柴内仅存的水分也被完全蒸发,木柴进入

柴煤炉三次进风系统装置-爱企查

随机推荐

霍启山出席何鸿燊家族活动,与赌王子女打成一片,高大帅气受欢迎

被曝隐婚,宋茜欧豪同时发声明辟谣,怒斥造谣者显无奈

儿童编发简单上学发型小辫子扎法女儿非常喜欢

良渚博物院新院长徐天进上任作为考古记者我也不知道该怎么形容他

配棉签】璇美天联 除湿止痒软膏 20g 清热除湿湿疹外用药膏10g

《制作我的小乐器》 写美篇上课前,学生们拿出制作好的乐器,纷纷想一

休闲短裤新款子潮牌宽松外穿中裤男士夏季运动跑步潮男五分裤薄款

通过使用烫发工具,你可以给小男孩的头发增添一些自然的卷度.