气化柴火炉制作图教程

cn210656817u_一种秸秆,农林废弃物炭化处理的气化炉有效

图片尺寸1000x884

气化炉内胆加厚柴火炉内胆不锈钢无烟气化炉炉芯炉胆配件二次燃烧

图片尺寸800x800

统家 柴火灶 柴火炉 农村无烟移动取暖气化炉柴煤两用炉室内烧木材

图片尺寸990x1533

大型气化炉大型生物质气化炉大型秸秆气化炉厂家直销

图片尺寸750x635

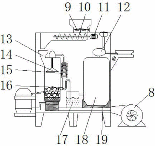
一种木柴节能清洁气化炉的制作方法

图片尺寸305x444

一种小微型生活垃圾气化炉的制作方法

图片尺寸844x1000

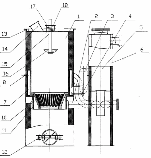
一种高效秸秆气化炉的制作方法

图片尺寸1000x941

一种节能环保燃柴炉制造技术

图片尺寸1000x963

民用柴煤两用气化炉产品标准

图片尺寸1166x886

大型气化炉大型生物质气化炉大型秸秆气化炉厂家直销

图片尺寸750x551

气化柴火炉 节能无烟气化炉取暖炉农村烤火炉柴火炉子取暖汽化炉 气化

图片尺寸790x1074

下吸式双循环秸秆气化炉

图片尺寸1605x1677

定制柴煤两用气化炉家用取暖炉室内回风炉柴火炉烧木材冬季无烟烤

图片尺寸800x800

一种柴气炉制造技术

图片尺寸1000x883

一种无烟环保的柴气炉的制作方法

图片尺寸861x1000

秸杆气化炉怎么制作

图片尺寸500x437

秸杆气化炉怎么制作

图片尺寸500x437

关于进藏用柴气炉做饭的柴火问题

图片尺寸392x535

秸杆气化炉怎么制作

图片尺寸500x406

桔杆气化炉图纸

图片尺寸500x403