老式磅秤结构图

缓冲地磅结构

图片尺寸422x225

地磅秤台结构分析及计算

图片尺寸1200x508

1《用天平比较轻重》

图片尺寸720x540

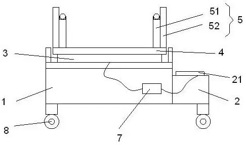
一种台秤结构

图片尺寸486x287

老式机械磅秤100公斤-3吨杠杆原理称重地磅 带标尺的tgt磅秤

图片尺寸790x836

盘称10公斤家用老式机械盘秤商用小型称重台秤厨房菜秤食物托盘称60kg

图片尺寸750x1090

台秤机械磅秤100公斤1000kg1吨 500kg机械秤2吨磅秤 带砣老式磅秤机械

图片尺寸750x960

详细!

图片尺寸258x257

第一章第一节练习讲解 (2)

图片尺寸1080x810

磅秤原理

图片尺寸1153x1103

cn2226284y_双面弹簧度盘秤失效

图片尺寸800x857

从成语权衡利弊中的权和衡看看相关的文化和文物

图片尺寸640x445

机械磅秤分类,电子磅秤分类: 一般称量较大,底部采用滑轮结构,秤体

图片尺寸748x619

青夏教育精

图片尺寸322x234

广东省2003年中考物理试题答案

图片尺寸802x400

珠海中心幼儿园大二班"初识传统国学 ,传承中华文化"家长助教活动

图片尺寸1600x1200

它们有哪些主要结构呢?

图片尺寸640x360

请用毫米刻度尺粗略测量一下图中秤盘支点到秤杆支点的

图片尺寸248x139

和秦始皇有关?

图片尺寸640x700

台秤

图片尺寸428x500