空竹知识图解双轮空竹和双轴空竹技法

相关图片

空竹知识图解双轮空竹和双轴空竹技法

十一响空竹内部结构

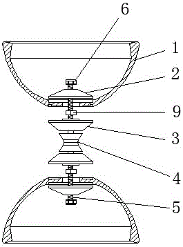
一种新型的空竹专用同心定位结构的制作方法

大号皮碗空竹专卖 双头空竹扯铃 耐摔适合

【正版全新直发】空竹玩法1:新手上路 龙腾 河南科学技*出版社

随机推荐

良渚博物馆

潮流风短发锅盖头 个性短刘海超短发_发型站_最新流行发型设计发型

海贼王分析一人既一团最神秘男人之一鹰眼个人解析

高伟光

【新歌推荐】大欢 -《给妈妈的歌》_岁月_安康_如风

盖娅传说春系列

邓紫棋近照变化大!喇叭裤配厚鞋底似踩高跷,被指身高不足150

青春爱情电视剧大全 五部最火青春校园剧 - 汽车时代网