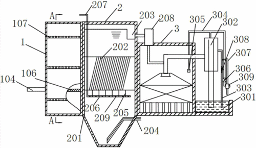
一种可杀菌净水器的制作方法

相关图片

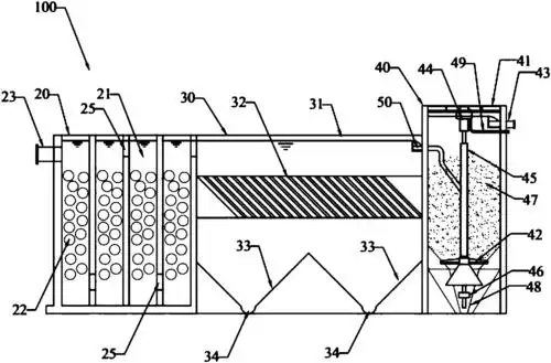
一种一体化净水器的制作方法

一体化净水器的制作方法

cn208429971u_一体化净水器有效

一种基于物联网的净水器制造技术

背景技术:目前,净水机已成为生活中必不可少的家用电器之一.

随机推荐

2021的情侣头像 2021全网最好看的情侣头像_微信头像图片大全

肖燕黄蓉造型好灵##肖燕古装写真复刻黄蓉造型

20句温暖文艺的生日朋友圈文案和10句生日祝福文案

宫崎骏电影龙猫高清电脑壁纸下载

手工制作#纸杯变身萌萌的小章鱼,你们喜欢吗?-度小视

翅膀天空蓝天俯视马日落特写建筑猎鹰云捕猎捕食雕塑海浪徽章人石头

fgacct fgacct 新版单位公司干部专员活页谈心谈话会议记录本党员学习

益城品牌文化