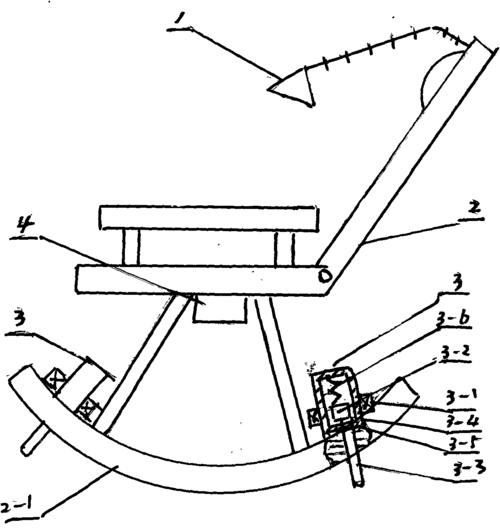
一种安装在摇椅上的按摩机构的制作方法

相关图片

摇椅弓的制作

反曲弓复合弓与箭支图解1最新赛事更多>>> 反曲弓复合弓与箭支图解09

cn202005445u_环保摇椅失效

成都柏木逍遥椅简易家用阳台实木摇摇椅椅户外懒人午休躺椅老人椅

三利达 龙之传说 专业玩家 复合弓 滑轮弓 反曲弓升级 射准竞技狩猎弓

随机推荐

ae86重出江湖这是全新的藤原拓海

影视,楚乔传,邓伦,电视剧,楚乔传萧策壁纸

黎姿这是要跌落神坛吗?脸僵得太恐怖,又一位天然美女沦陷了!

在路边疯狂吃坚果的松鼠秋天立秋秋分视频模板下载 - 觅知网

理想汽车 理想l8 2023款 max

【街霸5mod】嘉米 vs 卡琳

黄轩侧颜##黄轩完美关系

得了小儿病毒性肺炎怎么办-保健养生-在线问医生