缓冲罐吊装现场

相关图片

106米高 6米直径 66mm壁厚整体运输,吊装吊装重量1672吨 (1).jpg

风电机组维修吊装装置_徐鸿钧

铁路单线简支槽型梁跨铁路捆绑式吊装的装置,属于吊装装置技术领域

一种用于吊放反渗透膜壳的组合式吊装装置的制作方法

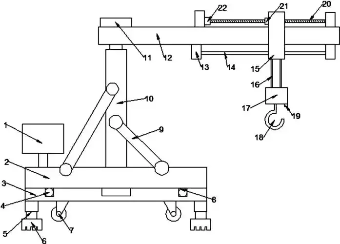
一种农业机械设备维修用的吊装装置的制作方法

随机推荐

灵堂缺席的三天王戳穿了娱圈的人情冷暖刘德华的话有人信了

202446林更新跟赵丽颖三搭腾讯的音综舞台2023选手袁b妍

67岁小男孩发型图片及名称6岁到7岁男孩发型图片2

雅云摄影新片发布丨成都婚纱照2021流行风格整理

royalstar荣事达迷你qq电饭煲煮粥煲饭保温家用小型电饭煲

明星中式秀禾婚纱照合集78你最喜欢哪一个

酒醉的蝴蝶 简单版 钢琴谱 简谱

也是没有办法平价替代色的烂番茄,这支口红首先在饱和度上是非常